El alimentador uniforme de la serie ZUF es un dispositivo que garantiza un suministro suficiente de materiales a la máquina formadora de RDF, generalmente ubicado entre la trituradora y la formadora. Reduce la presión directa de los materiales sobre la máquina formadora de RDF, evita que esta funcione de forma anormal debido a sobrecargas y permite que los materiales entren sin problemas, logrando una producción continua y una alimentación uniforme.
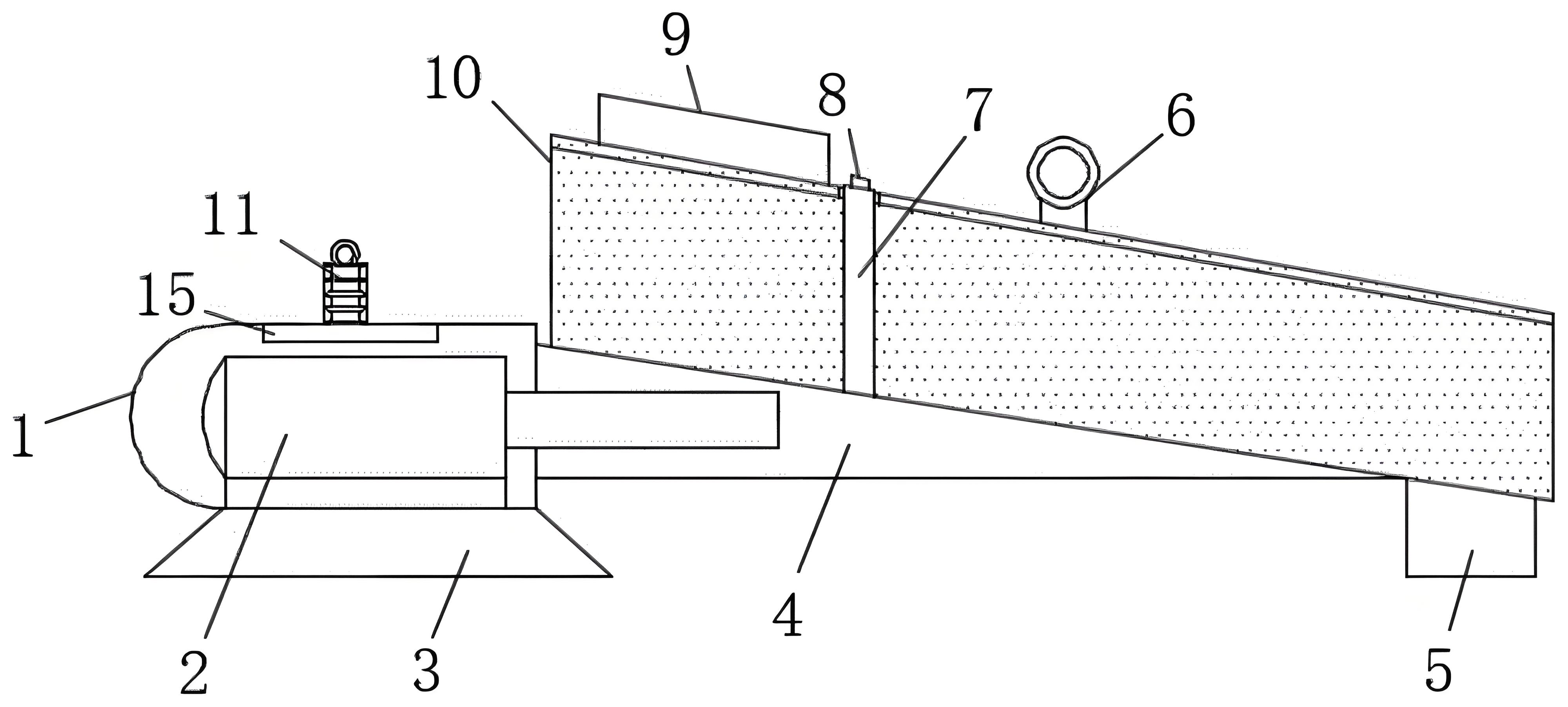
El alimentador uniforme se compone principalmente del bastidor, el cuerpo del depósito, el eje de alimentación de material, la placa de la cadena, el eje del depósito, la ventana de observación, la cubierta del depósito, el puerto de detección infrarroja y otras piezas. Presenta un alto grado de automatización y es adecuado para la alimentación uniforme de residuos industriales, RSU, paja de biomasa y otros materiales.
El dispositivo de accionamiento del alimentador uniforme incorpora un reductor cicloidal, un motor y un control de velocidad de frecuencia variable para suministrar materiales a la máquina formadora a una velocidad uniforme. La pared lateral de la máquina está equipada con un sensor infrarrojo. Cuando el material alcanza un nivel determinado, se transmite al sistema de alimentación mediante un sensor infrarrojo para ajustar la cantidad de alimentación. Esto permite lograr una correspondencia entre la cantidad de trituración y la cantidad de formación del bloque de prensado, garantizar una capacidad de producción razonable, evitar el bloqueo y la sobrecarga del material, y proteger la trituradora y la máquina formadora.
1. Características del material: Primero, debe comprender las propiedades del material que desea procesar, incluyendo el tamaño de partícula, la humedad, la viscosidad, etc. Cada material tiene requisitos diferentes para el alimentador. Por ejemplo, para materiales con alta viscosidad, puede ser necesario elegir un alimentador con función de vibración para evitar el bloqueo del material.
2. Demanda de producción: Determine las especificaciones y modelos del alimentador según los requisitos de capacidad de la línea de producción. Si se requiere un suministro de material continuo y estable en la línea de producción, se debe seleccionar un equipo que proporcione una velocidad de alimentación estable.
3. Precisión del control de la cantidad de alimentación: Algunos procesos pueden requerir un control preciso de la cantidad de alimentación, en cuyo caso es necesario elegir un alimentador con mayor capacidad de control de precisión.
4. Estructura y mantenimiento del equipo: Teniendo en cuenta la facilidad de uso y los costos de mantenimiento del equipo, es aconsejable elegir un alimentador con una estructura simple que sea fácil de limpiar y mantener.
5. Seguridad: Como resultado de la alimentación del seleccionado cumpla con los estándares de seguridad pertinentes y tenga las medidas de protección de seguridad necesarias.
6. Reputación del proveedor y soporte de servicio: elija un proveedor con buena reputación y red de servicio para recibir soporte técnico oportuno y servicios de reparación en caso de problemas con el equipo.
Diseño de control de velocidad de frecuencia variable, logrando un ajuste continuo de la cantidad de alimentación.
Estructura cerrada, bajo ruido de trabajo, baja contaminación, beneficioso para mejorar el entorno de trabajo.
La cantidad de alimentación es uniforme y continuamente estable, mejorando la capacidad de procesamiento de la línea de producción.
Estructura simple, fuerte adaptabilidad del material, pequeño volumen de mantenimiento y bajo costo de mantenimiento.


El principio para lograr un suministro uniforme de material mediante un alimentador uniforme se logra controlando con precisión la velocidad y el caudal del material.
Tomando como ejemplo el alimentador vibratorio, su principio para lograr un suministro uniforme de material se basa principalmente en la fuerza centrífuga generada por la rotación del bloque excéntrico del vibrador. Esta fuerza centrífuga provoca que las piezas móviles, como la caja de tamiz y el vibrador, experimenten un movimiento circular o casi circular continuo y forzado. El material se proyecta continuamente sobre la superficie inclinada de la criba junto con la cámara de cribado, y se entrega de forma continua y uniforme al puerto de recepción. Ajustando los parámetros del motor de vibración, se puede controlar la frecuencia y la amplitud de la vibración, ajustando así la velocidad de suministro y el caudal de material.


| Modelo | Capacidad de procesamiento (t/h) | Potencia (kW) | Ancho de alimentación (mm) |
| ZUF | 3-15 | 3-6 | 1000-1500 |
*El resultado variará según los diferentes materiales, el tamaño de las partículas de alimentación y otros factores.
¡Ahorre tiempo! Obtenga una cotización detallada rápidamente.