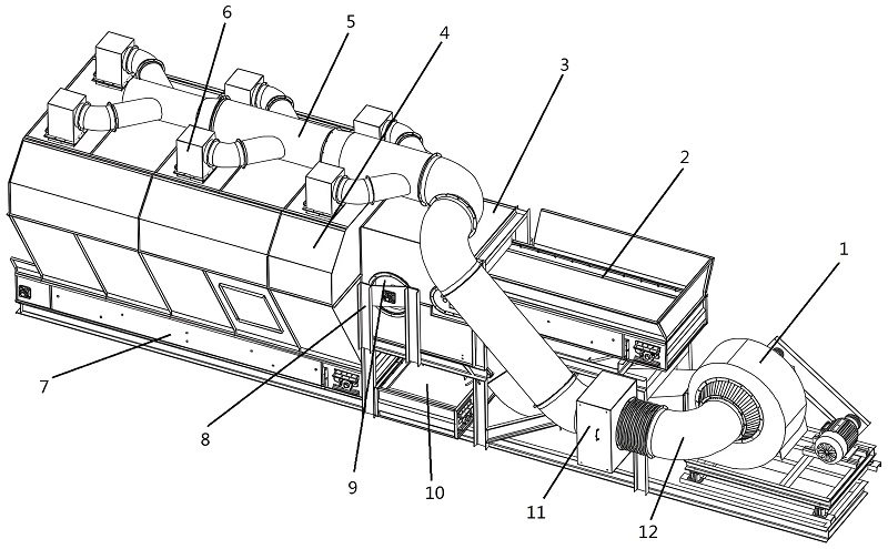
El tamiz de viento serie ZFX, también conocido como clasificador de densidad de tambor, consta de un ventilador centrífugo, una unidad de separación de tambor rotatorio, una máquina de banda y una cámara de sedimentación. Utiliza el principio de que los materiales son ligeros y pesados y la resistencia del viento es diferente para impulsarlos con la misma fuerza de viento y lograr una fácil clasificación automática de materiales.
El tamiz eólico de la serie ZFX es ideal para el pretratamiento de combustible CSR/CDR para residuos domésticos, residuos obsoletos de vertederos, residuos sólidos industriales, residuos de papel, residuos textiles, residuos de cuero, trapos, etc. Esta máquina clasificadora eólica, según el principio de aerodinámica, controla el flujo de aire para clasificar los materiales según su densidad y tamaño. El flujo de aire permite que los materiales más ligeros (como papel, bolsas de plástico, film, etc.) se eleven o se dispersen horizontalmente, mientras que los materiales pesados, debido al flujo de aire ascendente, no pueden sostenerlos y aterrizan, o debido a la inercia horizontal, son arrojados a una distancia más cercana. Por lo tanto, el proceso de clasificación eólica se basa en la ley de sedimentación de los materiales en el aire, logrando así los objetivos de clasificación.
La máquina clasificadora eólica de residuos se basa principalmente en el principio de aerodinámica. Mediante la rotación a alta velocidad y la fuerza del viento, separa los componentes ligeros (como papel, plástico, etc.) de los componentes pesados (como ladrillos, hormigón, etc.) en la basura de forma adecuada. La máquina consta de componentes clave como un bastidor, un motor, un reductor, una pantalla y un ventilador. Durante su funcionamiento, los residuos de decoración se introducen en la máquina y, mediante la rotación a alta velocidad y el viento, los componentes ligeros son arrastrados por la fuerza del viento, mientras que los componentes pesados se depositan en la pantalla, logrando una clasificación precisa.
El host está controlado por un convertidor de frecuencia y la velocidad del viento es flexible.
Se adopta un diseño modular para un mantenimiento conveniente.
Se adopta un diseño modular para un mantenimiento conveniente.
Menos piezas de desgaste y larga vida útil.
Se utilizan materiales de alta resistencia, los procesos de fabricación son exquisitos, el equipo funciona sin problemas y es duradero.
Diseñar máquinas según los requisitos del cliente, las condiciones reales del sitio y las necesidades de cribado.
Fuerte potencia y buen efecto de cribado.
Materiales de alta calidad, diseño racional y fabricación de precisión crean productos de alta calidad.




La clasificación eólica es un proceso que utiliza el aire como medio de clasificación para separar materiales seleccionados según su densidad y tamaño de partícula mediante la acción del flujo de aire y la vibración mecánica. El método básico para usar el aire como medio de clasificación consiste en alimentar las materias primas sobre una superficie porosa inclinada, fija o móvil, y utilizar un flujo de aire ascendente intermitente o continuo para impulsar el grupo de partículas y promover su estratificación según las diferencias de densidad. También se realiza la clasificación según la densidad (tamaño de partícula) en un flujo de aire vertical u horizontal, como en cajas de sedimentación. Según el flujo de aire y la dirección del movimiento del equipo, la clasificación eólica puede dividirse en procesos como jigs, agitadores y tolvas, pero el proceso de clasificación es muy diferente al de los medios acuosos.
La presión de gas requerida para los jigs y agitadores eólicos oscila entre 1,5 y 3 kPa. La velocidad del flujo de aire es igual a la velocidad de sedimentación por interferencia del enjambre de partículas. En este punto, las partículas con baja velocidad de sedimentación libre quedan suspendidas en la capa superior, y la fracción de volumen sólido es relativamente pequeña. Las partículas con alta velocidad de sedimentación se suspenden en la capa inferior y presentan una mayor fracción de volumen sólido. Entre los minerales seleccionados, los de alta densidad presentan una velocidad de sedimentación promedio más alta y, por lo tanto, se enriquecen en la capa inferior. El aumento de la densidad de la suspensión también influye en la exclusión de los minerales de baja densidad.
La distribución uniforme de la velocidad del flujo de aire en la superficie de clasificación influye significativamente en la precisión de la clasificación. El contenido de humedad de las materias primas también influye significativamente en la operación. Cuando el contenido de humedad supera el 4%-5%, se produce la unión de partículas, lo que reduce drásticamente la eficiencia de clasificación y la capacidad de procesamiento del equipo.


| Modelo | Potencia (kW) | Ancho de trabajo (mm) | Capacidad (m³/h) | Tamaño de partícula del material (mm) |
| ZFX800 | 22-37 | 800 | 20-30 | 40-400 |
| ZFX1000 | 22-45 | 1000 | 25-35 | |
| ZFX1200 | 30-55 | 1200 | 35-45 | |
| ZFX1400 | 37-65 | 1400 | 50-60 |
*El resultado variará según los diferentes materiales, el tamaño de las partículas de alimentación y otros factores.
¡Ahorre tiempo! Obtenga una cotización detallada rápidamente.